在我国白酒历史长河中,除了已经上市的茅台、五粮液、泸州老窖等知名酒企外,还有像习酒、劲酒这样的还未进入资本市场的白酒品牌。不过这些企业对产品研发的热情都不低。
前不久,劲酒的母公司劲牌有限公司在黄石召开了两项科技成果鉴定会。会上,劲牌公司宣布了一项历时4年的研究成果:劲牌清香型白酒中含40余种具有健康活性的萜类物质成分。
在本次鉴定会中,劲牌公司副总裁杨强提到,“公司每年将营收的3%投入到科学技术研发中”、“两项研究成果对白酒品质标准化和规范化具有进一步的推动作用,为白酒风味品质的提升提供指导依据”。
同时,由中国工程院孙宝国院士担任组长的专家组,对劲牌公司与江南大学共同完成的两项科技成果(劲牌清香型白酒挥发性风味成分特征及风味品质科学表征研究、基于合成微生物组工程的劲牌清香型白酒功能微生物菌群构建及应用关键技术),给予“国际领先水平”的鉴定结果。
通过查询可以看到,孙宝国曾多次参加劲酒举办的活动。但大公快消注意到,在劲酒活动评委名单中,还有一位落马的“酿酒大师”。
前“座上宾”岳国军落马
“国际领先”产品却未通过抽检
提及劲酒,最出名的就是其流传了30年的经典广告语——“劲酒虽好,可不要贪杯哟”。也是这句话,让更多人看到了已到中年的劲酒。
和此次召开的成果鉴定会类似,劲酒和众多企业一样,偶尔也会开新品发布会、技术发布会,与此同时,也有不少行业专家、学术专家参与其中。但大公快消在众多参与过劲酒活动且担任评委的专家名单中,看到了岳国君的身影。
据了解,1984年,大学本科毕业后的岳国军,便进入黑龙江安达龙新化工有限公司工作,先后担任车间主任、副总工程师,总工程师。
但在今年2月,中共中央纪律监察委员会官网显示,国投生物科技投资有限公司(以下简称“国投生物科技”)党委书记、董事长岳国君涉嫌严重违纪违法,目前正接受国家开发投资集团有限公司纪检监察组纪律审查和安徽省池州市监察委员会监察调查。
通过企查查可以看到,国投生物科技的法人就是岳国君,而公司大股东为国家开发投资集团有限公司,持股比例为100%。但上述消息传开后,国投生物科技官网管理团队中已没有岳国君相关信息,同时在国投官网也不能查询到任何与岳国君有关的信息。
事实上,岳国君的个人履历十分“亮眼”。2011年,时任中粮集团总裁助理的岳国君被中国轻工业联合会与中国酒业协会(原中国酿酒工业协会)联合评选为第二届“中国酿酒大师”。
在获得该称号后不久,岳国君就出任了中粮集团有限公司总工程师。2015年12月,这位就职央企的总工程师又被增选为中国工程院院士。
在此之后,岳国军出席了多个酒企的活动,其中就包括劲酒。比如2019年,劲牌有限公司、江南大学联合完成的“基于风味靶向的原位微生物筛选及其在白酒生物智能酿造中的应用”项目科技成果鉴定会上,岳国君担任了鉴定委员会评委。
2021年3月26日,中国食品发酵工业研究院、劲牌有限公司、武汉奋进智能机器有限公司联合完成的“小曲清香型白酒优质酿造原料研究及在自动化酿造中的创新应用”科技成果鉴定会在北京召开,岳国君也担任了鉴定委员会评委。
彼时,包括岳国君在内的专家组对项目整体给予“国际领先”评定。但在此次鉴定会结束半年后,劲牌公司的产品在某次抽查中出现了“不合格”结果。公开资料显示,2021年10月,黄石市展开该年度第三次对种子、农药、肥料进行监督检查,结果湖北劲酒在种子、农药和肥料上全部存在问题,并被责令更改。
不仅如此,在市场中生存了70年的劲牌公司,还曾多次卷入侵权纠纷。
官司纠纷不断
被诉侵权后“悄然”下架相关产品
公开报道显示,2022年3月,湖北斗白酒业有限公司(以下简称“湖北斗白酒业”)起诉劲牌公司产品“劲牌十全酒36度55ml”外观涉嫌侵权。2022年3月11日,该案件被成都中级人民法院受理。案号为(2022)川01民初3296号。
彼时,湖北斗白酒业董事长沈金华公开喊话,“因为产品被侵权,公司目前的经营并不好。”此前曾多次联系劲牌交涉无果,遂走上法律途径,“希望劲牌能给一个说明。”
通过对比两公司产品可以看到,湖北斗白酒业主打产品为斗白令酒,产品包装特点在于50ml/瓶、自带酒杯、四瓶一排,其瓶身还自带“酒令”。而劲牌公司旗下十全酒36度55ml的包装几乎与斗白令酒的一摸一样。
据沈金华介绍,“公司在设立之初就申请了40多个商标和多个外观专利,其中就包括受侵害的专利CN201630505233.7。”
根据国家知识产权局官网信息,该专利发明人为沈金华,2017年3月1日获得,设计名称为酒瓶。本外观设计产品的涉及要点在于酒瓶形状与图案,最能表明设计要点的图片或者照片为后视图。

截图自国家知识产权局官网
不仅如此,沈金华还一同起诉了四川永辉超市。他表示,公司市场人员在四川省几十个区市的一百多家永辉超市和重庆很多区县的餐厅、超市以及烟酒副食店,都发现了模仿斗白令酒的劲酒。
虽然劲牌公司对此一直三缄其口,但在劲牌官方京东自营旗舰店、劲牌官方天猫旗舰店、永辉超市线上小程序中,均无法搜索到“十全酒36度55ml”相关产品。彼时,沈金华表示,对方下架产品是在收到斗白酒业已向法院起诉的消息后,迅速做出的产品下架处理。
2023年2月13日,有关沈金华、劲牌公司、四川永辉超市和湖北斗白酒业之间“侵害外观设计专利权纠纷案”正式开庭,但时至今日该案件仍未结束。
在案件立案初期,上海明伦事务所律师王智斌曾公开表示,该类纠纷通常涉及侵犯知识产权、不正当竞争两个诉由。从产品外观图片来看,普通消费者并不会混淆两种不同的产品,不正当竞争很难成立。至于劲酒是否侵犯了斗白酒业的知识产权,取决于斗白酒业取得的专利类型以及要求保护的权利范围。在专利有效期内,其专利权是受到法律保护的,其他方不得在未取得其授权的情况下使用其专利。
但无论结局如何,湖北斗白酒业还是受到重创。据沈金华表示,斗白令酒从创立到现在(2022年3月)共遭到全国近200家酒厂模仿抄袭,综合统计受侵权影响带来的市场和品牌损失达两个亿。
不过,这并非劲牌公司首次因“侵权”遭到起诉。通过企查查可以看到,在劲牌公司上百条裁判文书、司法案件记录中,不乏“侵权商标纠纷”的身影,另外还有不正当竞争纠纷、产品责任纠纷等案由。
比如2021年11月,伊斯雷尔(厦门)网络科技有限公司起诉劲牌公司著作权侵权。2022年3月,劲牌公司旗下毛铺酒业有限公司被北京东乐影音文化有限公司起诉,案由为“侵害录音录像制作者权”、“侵害作品信息网络传播权”、“侵害作品复制权”。
对此,有业内观点表示,在激烈的市场竞争中,劲酒想通过模仿打造自己的产品亮点、提升竞争力,但这也在一定程度上说明了劲酒的创新力不足。
与此同时,劲酒还陷入了业绩增长乏力的艰难时刻。
业绩停滞不前
劲酒如何破局?
通过官网可以看到,目前劲酒已在国内市场实现了全覆盖,并销往韩国、日本、欧洲等20多个国家和地区。但在董事长吴少勋接手前,大冶县国营酒厂(劲牌前身)实际是一个资产不足500万元、负债达到700万元的公司。
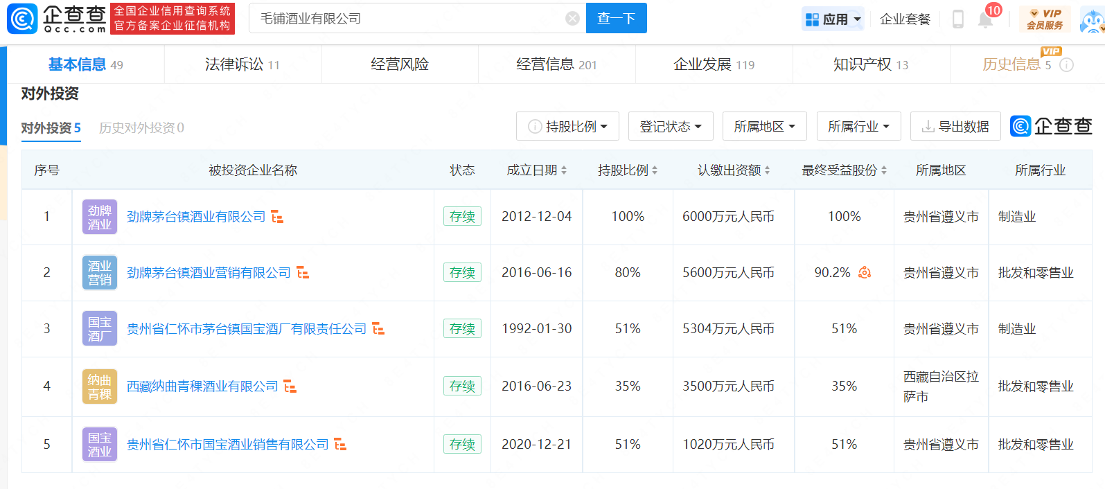
经过多次改制后,该公司最终确立了三大品牌业务——中国劲酒、毛铺酒、持正堂。同时,劲牌公司还在茅台镇投资了几家酒业公司。企查查显示,劲牌公司通过毛铺酒业有限公司间接持有劲牌茅台镇酒业有限公司100%股权、劲牌茅台镇酒业营销有限公司80%股权、贵州省仁怀市茅台镇国宝酒厂有限责任公司51%股权等。
不仅如此,劲牌公司也曾凭借劲酒、毛铺酒两大业务在保健酒市场做到了行业“老大”的位置。
彼时,坐在行业头把交椅上的劲牌公司,在2017年就交出了了年销售额104.9亿元的好成绩,同时,该公司也占据了中国整个保健酒业市场份额的三分之一。
值得注意的是,凭借104.9亿元的营收,劲牌公司力压泸州老窖(2017年营收103.95亿元)、汾酒(60.37亿元),排在中国酒业第四位,前三位为茅台、五粮液、洋河。
与此同时,中国保健酒业也在飞速发展。
根据中国酿酒工业协会数据显示:2001年中国保健酒行业市场规模仅为8亿元。在2001年——2017年期间,以26.1%的年均复合增长率飞速发展着。2017年该行业市场规模达到325.4亿元,同比增长18.7%。到了2018年,中国保健酒行业市场规模突破400亿元,同比增长23%。
但在突破百亿营收后,劲牌公司的业绩开始停滞不前。公开资料显示,2018年劲牌公司的营业额降至102亿元左右,2019年销售额约107亿元。值得注意的是,吴少勋曾在2014年宣告了劲牌人的五年梦想——2019年实现年销售额162亿。
事实证明,2019年吴少勋的“五年梦想”并未实现,甚至到了今天,劲牌公司还未达到这一目标。2023年7月劲牌召开的“第二届中国露酒T5峰会”上,吴少勋透露“去年劲牌才恢复到2019年的水平,等于说这么多年,我们一直停滞不前。”
针对业绩放缓等情况,大公快消向劲牌公司发出采访函,但截至发稿仍未得到企业回复。
对此,有业内人士表示,保健酒相对于酒类行业来说属于小众市场,行业测算大约在200亿左右,且存在着门槛低、缺乏头部品牌、小且散乱的问题。同时,保健酒品类的附加值并不高,导致企业的盈利能力不高。
以“中国保健就第一股”海南椰岛为例,财报数据显示,2021年、2022年该公司营收8.33亿元、4.16亿元,同比增长3.16%、-50.03%;净利润-6014.09万元、-1.18亿元。
7月14日,海南椰岛发布业绩预告,预计2023年半年度归属上市公司股东的净利润为-6300万元;预计2023年半年度归属上市公司股东的扣除非经常性损益后的净利润为-6600万元。
但随着经济的发展和人们对健康的重视,近年来我国保健酒市场又出现产销两旺的现象。智研咨询数据显示,2022年我国保健酒行业产量从2015年的79.54万千升增长至95.38万千升,需求量从2015年的74.93万千升增长至91.2万千升,市场规模从2013年的174.2亿元增长至360.38亿元;预计2023年我国保健酒行业产量增长至97.4万千升,需求量增长至93.40万千升。
未来,像劲牌公司、海南椰岛这样的中国保健酒品牌能否翻身,我们拭目以待。