大公房产讯 企查查信息显示,恒大集团有限公司新增16宗司法拍卖信息,处置单位为辽宁省沈阳市中级人民法院。

截图自企查查
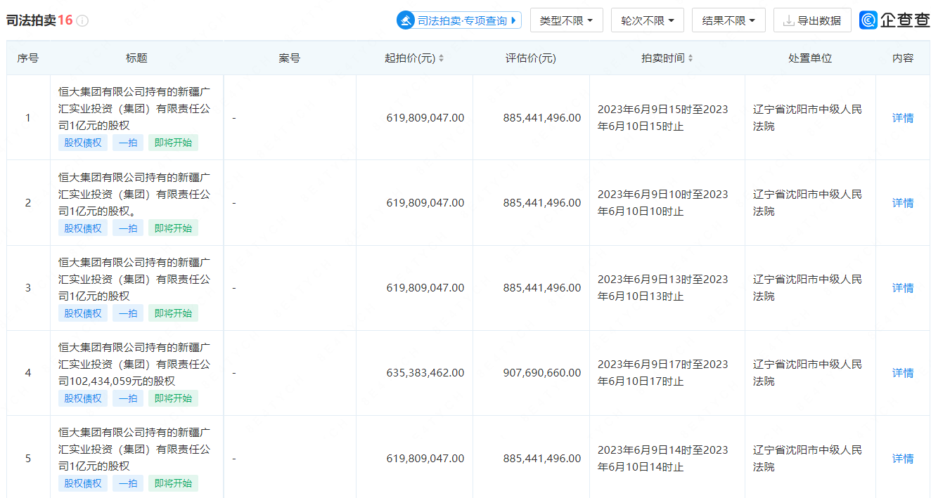
据了解,上述16宗拍卖种共有15宗将于6月8日、6月9日开拍,剩余一宗目前显示撤拍。根据拍卖标题可知,此次拍卖标的为恒大持有的新疆广汇实业投资(集团)有限责任公司(下称广汇集团)股权,共涉及16.02亿元股权,总起拍价约99.325亿元,总评估价约141.89亿元。
企查查显示,广汇集团成立于1994年10月,法人为孙广信,注册资本约51.71亿元,经营范围包括房地产业、汽车组改装业、证券业等。该公司由孙广信持股50.057%,恒大集团持股40.964%,新疆创嘉股权投资有限公司、尚继强、杨铁军等人持有剩余股份。
据阿里拍卖平台披露的股权评估报告,此次恒大集团被拍卖的16.02医院股权占比为30.9862%。截止评估基准日2022年9月30日,广汇集团资产账面价值494.76亿元,评估价值710.12亿元,负债账面价值252.22亿元。

截图自股权评估报告
财务方面,2018年-2022年广汇集团营收分别为1889.42亿元、1983.47亿元、1983.94亿元、2032.23亿元、20080.07亿元,同比增长7.09%、4.98%、-4.51%、7.3%、2.35%;净利润分别为50.43亿元、45.24亿元、27.32亿元、48.53亿元、65.25亿元,同比增长27.92%、-10.31%、-39.6%、77.63%、34.46%。于2022年末,该公司资产负债率为66.55%,总负债约1603.16亿元。