大公网

大公报电子版
首页 > 房产 > 地产 > 正文

中南集团董事长陈锦石被限制高消费

2025-07-26 12:42:10大公房产 作者:黄春蕊
字号
放大
标准
分享
  大公房产讯   在*ST中南(江苏中南建设集团股份有限公司,以下简称“中南建设”)退市一周年之余,公司法定代表人、实际控制人、董事长陈锦石新增被限制高消费记录。
 
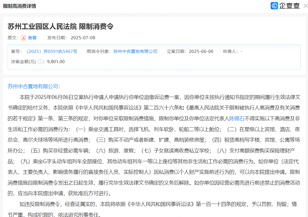
  根据企查查信息,近日,江苏省苏州市苏州工业园区人民法院共发布限制消费令,该法院于2025年6月6日立案执行申请人申请执行苏州中合置地有限公司(以下简称“苏州中合”)追缴诉讼费一案,因苏州中合未按执行通知书指定的期间履行生效法律文书确定的给付义务,本院依照《中华人民共和国民事诉讼法》第二百六十六条和《最高人民法院关于限制被执行人高消费及有关消费的若干规定》第一条、第三条的规定,对苏州中合采取限制消费措施,限制苏州中合及公司法定代表人陈锦石不得实施高消费及非生活和工作必需的消费行为。


 
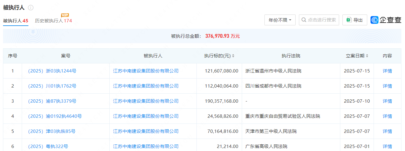
  除此之外,陈锦石作为中南建设实控人,因公司未能清偿多项债务,被多地法院列为失信被执行人。截至2025年7月26日,中南建设涉及的被执行金额约37.70亿元。


 
  就在前不久,中南系还登上了中级人民法院发布的“悬赏执行公告”。据江苏经济报等媒体报道,7月21日,无锡市中级人民法院发布悬赏执行公告。根据公告内容,依据江苏省无锡市中级人民法院(2023)苏02民初364号民事判决书,对被执行人中南城市建设投资有限公司、中南控股集团有限公司(以下简称“中南集团”)、北京城建中南土木工程集团有限公司发布悬赏公告,执行标的为313075819.46元及利息,悬赏期限为一年(2025年7月21日至2026年7月20日)。
 
  根据上述悬赏公告显示,无锡市中级人民法院称,举报人提供法院尚未掌握且真实有效的被执行人财产线索(已发现的未处分财产不属于悬赏范围),使本案债权全部或部分实现的,可按举报财产执行到位金额的5%予以奖励。按执行标的3.13亿元计算,最高悬赏金额可达1565万元。
 
  此次悬赏执行的标的源于一起长达两年的金融借款合同纠纷。据判决书显示,2020年,中南城市建设投资有限公司为推进无锡某综合体项目开发,向某国有银行申请3亿元开发贷,中南集团、北京城建中南土木工程集团提供连带担保责任。2023年贷款到期后,因项目销售遇冷、资金回笼受阻等问题,中南系企业未能按期还款,银行遂提起诉讼。
 
  据了解,陈锦石是中南集团创始人,1992年成立中南建设。凭借开发南通CBD项目,中南建设逐渐成长为南通最大的房企。但在最近两年,中南建设业绩出现断崖式下滑。
 
  根据2024年4月23日中南建设发布的公告,由于最近连续三个会计年度扣除非经常性损益前后净利润均为负值。在此同时,公司年度审计会计师事务所致同会计师事务所(特殊普通合伙)对公司2023年度财务报告出具了带有持续性经营相关重大不确定性段落的无保留意见的审计意见。同年5月9日,中南建设收到深交所关于公司股票将被终止上市及停牌的风险提示,该公司股票已于5月9日开市起停牌,其股票价格固定在0.56元/股。2024年7月11日,触及股票终止上市情形的中南建设摘牌。
 
  从业绩来看,2024年,中南建设营业收入522.3亿元,同比减少23.7%。毛利率3.29%,同比下降6.48个百分点;归属于公司股东的净利润约-83.29亿元。期内,公司房地产业务合同销售金额175.0亿元,销售面积160.8万平方米,同比分别减少56.1%和51.7%。
 
  截止2024年末,中南建设有息负债387.2亿元,同比减少10.5%。公司总负债率94.91%,比2023年末增加3.77个百分点。总负债和总资产同时扣除预收账款(含合同负债、预收账款和待转销项税)的负债率为93.91%,比2023年末增加7.03个百分点。
责任编辑:王杰
大公原创,未经授权不得转载

相关内容

点击排行