大公网

大公报电子版
首页 > 快消 > 新消费 > 正文

恒大冰泉关联公司新增三条失信信息,涉案金额达215.6万元

2022-12-08 12:46:37大公快消 作者:波米
字号
放大
标准
分享
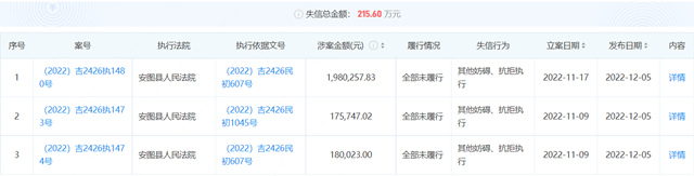
  大公快消讯 12月8日,企查查信息显示,恒大冰泉关联公司安图翠林矿泉水有限公司新增三条失信被执行人信息,涉案总金额达到215.6万元。
 
 
  据了解,上述三条失信信息的案号分别为(2022)吉2426执1480号、(2022)吉2426执1473号、(2022)吉2426执1474号,执行法院均为安图县人民法院,失信行为均为“其他妨碍、抗拒执行”,被执行人的履行情况均为全部未履行。
 
  此外,该公司还新增3条限制高消费信息,关联对象均为该公司执行董事兼总经理、法定代表人张烽,案由也均为买卖合同纠纷。
 
  根据企查查,安图翠林矿泉水有限公司成立于2014年2月18日,法定代表人为张烽,注册资本为53000万元,所属行业为酒、饮料和精制茶制造业,经营范围包含:许可项目:矿产资源(非煤矿山)开采;饮料生产;食品经营;食品用塑料包装容器工具制品生产;货物进出口。
 
  目前,该企业有裁判文书记录30条,案件总金额达到694.81万元,企业作为被告的文书占比86.21%,涉案案由为财产损害赔偿纠纷的案件最多。
 
  资料显示,恒大冰泉于2013年成立。彼时恒大集团董事局主席许家印称,恒大做矿泉水是出于长远战略规划考虑,并给公司定下了一年增长100个亿的目标,希望在未来十年内恒大冰泉能实现1500万吨的年销量。
 
  然而到了2015年5月,恒大冰泉累计亏损了近40亿元。2016年,恒大以18亿元出售了恒大冰泉全部股权。不过在2021年,集团又将已经卖出的恒大粮油和恒大冰泉的股份买回了49%。目前,恒大冰泉隶属于翠林矿泉水集团股份有限公司,据悉该公司前身为恒大长白山矿泉水股份有限公司。
 
  值得注意的是,在今年7月,恒大冰泉关联公司深圳市翠林饮品有限公司因通过登记的住所或经营场所无法联系,曾被深圳市市场和质量监督管理委员会福田局列为经营异常。
责任编辑:江舟舟
大公原创,未经授权不得转载

点击排行