大公网

大公报电子版
首页 > 快消 > 新消费 > 正文

常熟每日优鲜1个月内新增18则被执行人信息,累计被执行超3800万元

2023-01-30 12:42:46大公快消 作者:孙丽
字号
放大
标准
分享
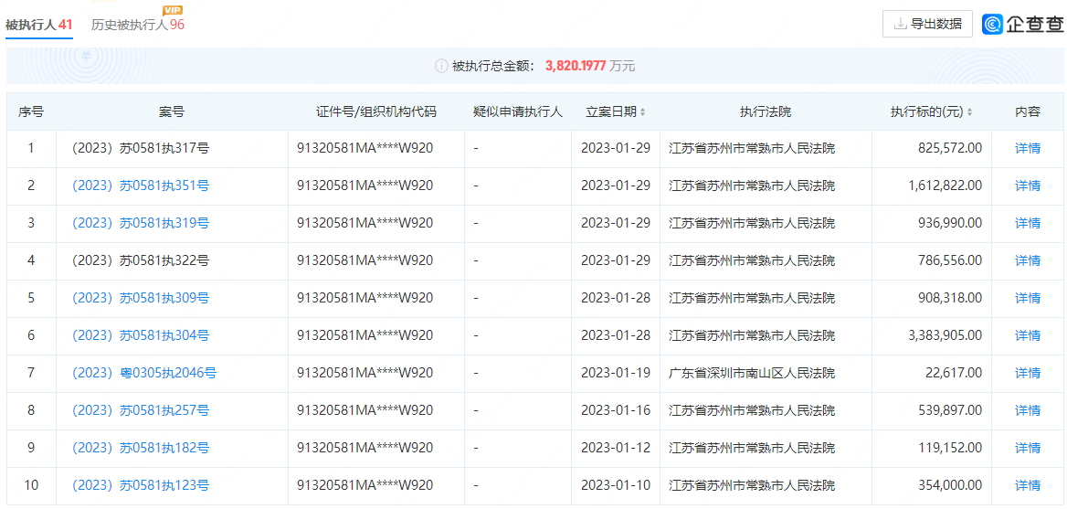
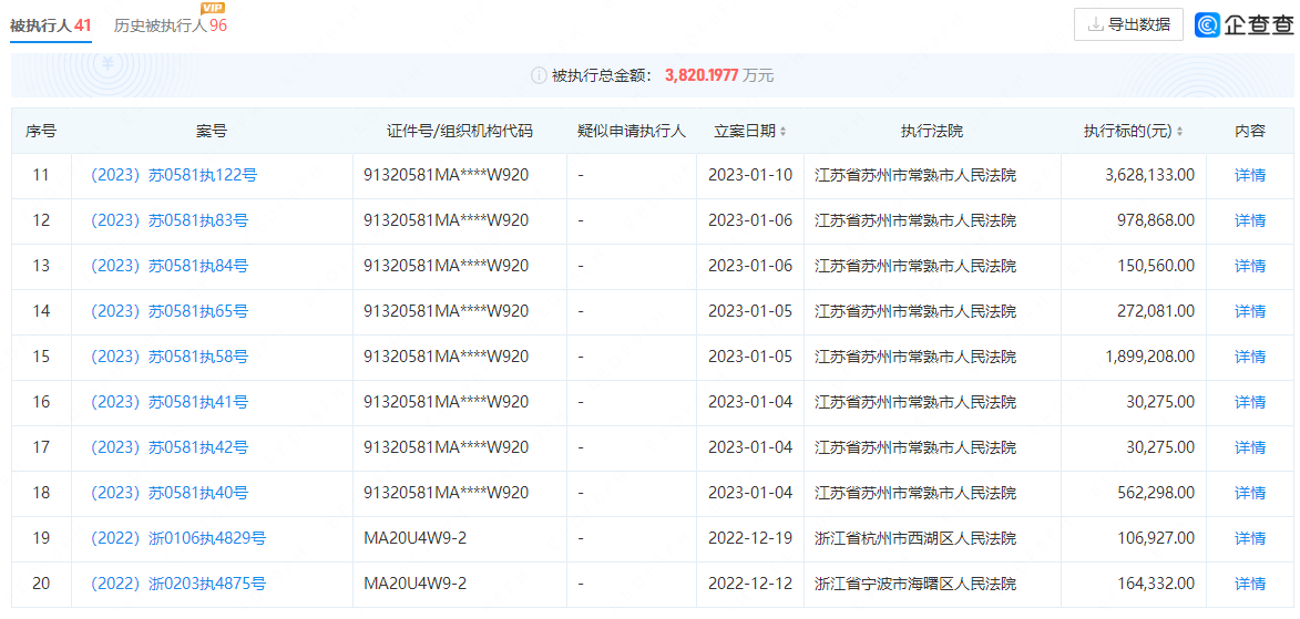
  大公快消讯  据企查查显示,近日,常熟每日优鲜电子商务有限公司(以下简称“常熟每日优鲜”)新增多则被执行人信息,累计被执行金额约3820.2万元。
 
  据大公快消不完全统计,自2023年1月1日至1月30日,常熟每日优鲜共新增18则被执行人信息。其中,仅2023年1月29日当日,常熟每日优鲜就新增了4则被执行人信息,执行标的分别约为82.56万元、161.28万元、93.7万元、78.66万元。执行法院均为江苏省苏州市常熟市人民法院。



 
  风险信息还显示,2022年8月,常熟每日优鲜电子商务有限公司因通过登记的住所或者经营场所无法联系,被列入经营异常名录。
 
  此外,该公司还有两次信用中国的黑名单记录信息,列入日期为2022年11月18日、2022年12月22日,列入原因均为其他规避执行,列入机关分别为芜湖市弋江区人民法院、深圳前海合作区人民法院。同时,该公司还存在多个失信被执行人、限制消费令、终本案件信息,未履行总金额6070.01万元。
 
  据了解,常熟每日优鲜成立于2020年1月16日,法人为李洪义,注册资本为42709.2058万美元,实缴资本为1400万美元,由每日优鲜香港集团股份有限公司Missfresh HK Limited持股92.1455%,常熟鼎铸企业管理服务有限公司持股7.8545%。
责任编辑:李琪
大公原创,未经授权不得转载

相关内容

点击排行