大公网

大公报电子版
首页 > 房产 > 地产 > 正文

融创集团新增5条被执行人信息,被执行标的金额共计约20.2亿元

2024-07-24 20:46:15大公房产 作者:嘉琳娜
字号
放大
标准
分享
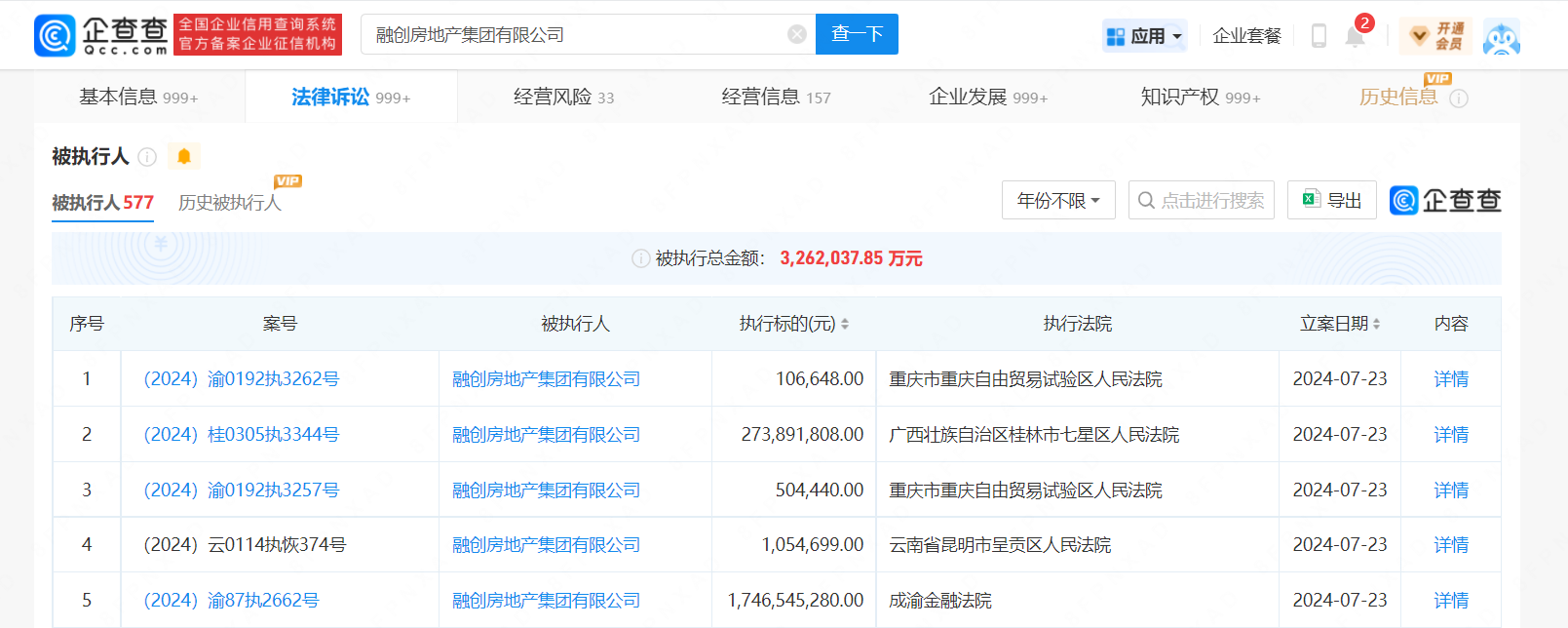
  大公房产讯   根据企查查信息显示,7月23日,融创房地产集团有限公司(以下简称“融创集团”)新增5条被执行人信息。

  具体来看,上述案件涉及票据追索权纠纷等,部分案件被执行人还包括成都融创文旅城投资有限公司、桂林融创城投资有限公司、重庆诚业建筑工程有限公司等。

  此外,5条被执行人案件的执行法院分别为成渝金融法院、广西壮族自治区桂林市七星区人民法院、重庆市重庆自由贸易试验区人民法院、云南省昆明市呈贡区人民法院,执行标的总金额约20.2亿元。


  值得注意的是,自2024年7月1日开始至7月23日,融创集团累计新增91条被执行人记录,其中被执行标的最高的一次案件案号为(2024)黑0104执4116号,执行标的约34.9亿元。

  截止7月24日,风险信息显示,融创集团共有577条被执行人信息,被执行总金额约326.2亿元。同时,融创集团还面临1423个限制消费令、374条失信被执行人和1072条终本案件信息。

  截止2023年12月31日,融创集团营业总收入为1478.51亿元,同比增长64.51%,净利润-374.82亿元,同比下降101.8%,资产总计9402.39亿元,同比下降10.03%。
责任编辑:王杰
大公原创,未经授权不得转载

相关内容

点击排行