大公网

大公报电子版
首页 > 房产 > 地产 > 正文

恒大地产新增两条被执行人信息,被执行总金额超664亿

2024-11-26 20:58:03大公房产 作者:嘉琳娜
字号
放大
标准
分享
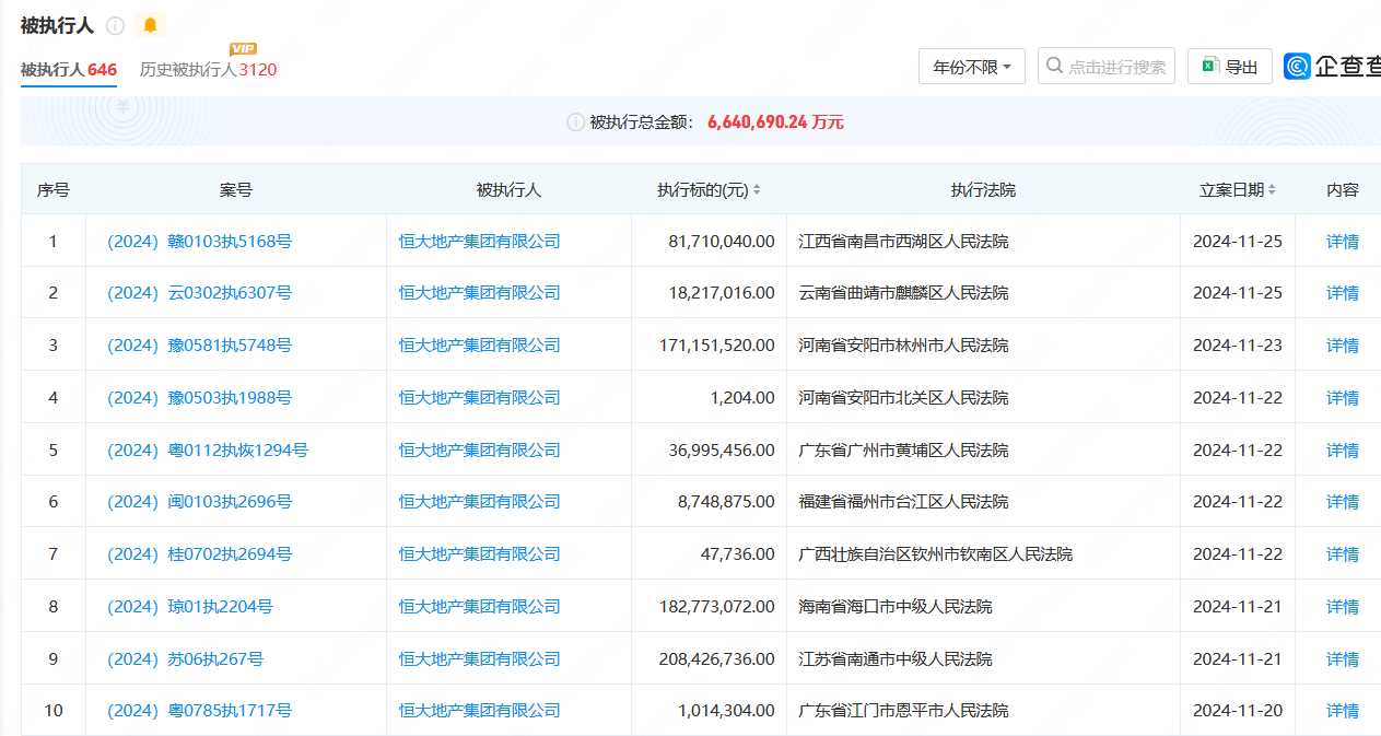
  大公房产讯  据企查查显示,11月25日,恒大地产集团有限公司(以下简称“恒大地产”)新增两条被执行人信息,执行标的累计约9992.71万元,执行法院分别为江西省南昌市西湖区人民法院和云南省曲靖市麒麟区人民法院。
  其中,案号(2024)赣0103民初5908号的被执行记录,涉及江西银行股份有限公司南昌高新支行与上饶大红鹰置业有限公司、恒大地产金融借款合同纠纷的案件。案号为(2024)云0302民初221号的被执行记录被执行人为恒大地产、曲靖恒工达置业有限公司(所属集团为恒大集团)。

  自11月1日起,恒大地产先后增加78条被执行人记录,截至11月26日,恒大地产共有640余条被执行人信息,被执行总金额超664亿元。另外该公司还存在1827条限制消费令、339个失信被执行人记录。

  此外,据企查查统计,截至2024年11月26日,恒大地产共有839次合同违约记录,涉案金额约363.84亿元,违约等级为L5(极高风险),违约指数99。
  就在前不久,恒大地产所属的恒大集团曾发布公告称,截至10月25日,潜在卖方已决定中止与潜在买方有关潜在交易的所有讨论,并决定不再落实进行潜在交易。双方并无就潜在交易订立买卖协议。

  恒大集团表示,潜在卖方现正继续物色可能买家,以及发掘出售潜在卖方所持新能源汽车集团股份的可行机会;然而,截至本公告日期,尚未与任何可能买家达成任何协议、安排或谅解,亦未找到任何确切机会。现在无法确定能否落实任何可行机会,也无法确定一旦能够落实有关机会的话,将会采取何种架构或形式给予落实。中国恒大表示将适时根据上市规则另行刊发公告。
责任编辑:王杰
大公原创,未经授权不得转载

相关内容

点击排行