大公网

大公报电子版
首页 > 房产 > 地产 > 正文

碧桂园地产集团新增一条股权冻结信息,被冻结股权数额达10亿元

2025-06-05 21:28:44大公房产 作者:嘉琳娜
字号
放大
标准
分享
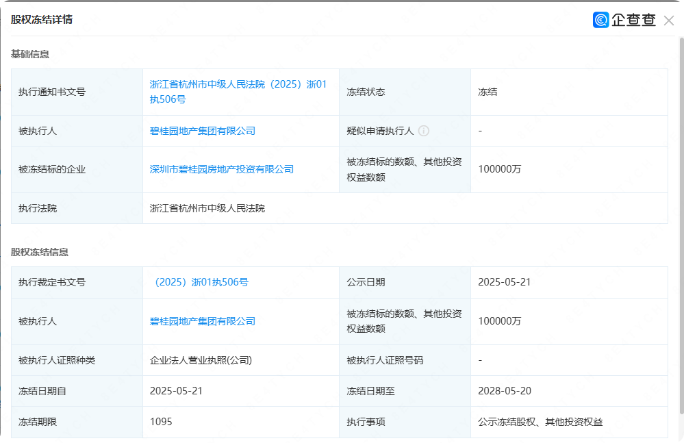
  大公房产讯  近日,企查查显示,碧桂园地产集团有限公司(以下简称“碧桂园地产集团”)新增一条股权冻结信息。
 
  具体来看,此次股权冻结的企业为碧桂园地产旗下的子公司深圳市碧桂园房地产投资有限公司,冻结股权数额10亿元,冻结期限自2025年5月21日至2028年5月20日,执行法院为浙江省杭州市中级人民法院。
  公开资料显示,深圳市碧桂园房地产投资有限公司成立于2015年8月,法定代表人为王富学,注册资本约11.11亿元,经营范围含在合法取得使用权的土地上从事房地产开发经营、房地产信息咨询、自有物业租赁等,由碧桂园地产、增城市碧桂园物业发展有限公司共同持股。
 
  企查查深度风险提示,截至6月5日,碧桂园地产集团现存有被执行人信息近40条,被执行总金额约38.55亿元;现存被限制高消费约20余条,涉案总金额约5.68亿元;现存终本案件约10余条,执行标的总金额约5.69亿元,未履行总金额约5.51亿元,未履行比例高达96.8%。
 
  大公房产注意到,碧桂园地产集团于5月16日发文称,由于公司未能按时披露2024年中期报告,交易所对碧桂园地产集团、碧桂园地产集团时任董事长杨惠妍女士、碧桂园地产集团时任总经理兼信息披露事务负责人简暖棠先生、碧桂园地产集团时任财务负责人陈淑兰女士予以公开谴责的处分,并记入诚信档案。
 
  业绩上,年报显示,碧桂园地产集团2024年合并范围内营业总收入约2216.34亿元,同比下降了37.60%;持续性经营净亏损约110.54亿元,归属于母公司股东的净亏损约96.29亿元。
 
  债务方面,截至2024年末,碧桂园地产集团资产负债表日货币资金余额约189.22亿元,其中受限制资金175.60亿元;有息负债余额1026.25亿元,其中流动负债为808.93亿元,且销售产生的现金流入无法覆盖短期债务,碧桂园地产持续与债权人沟通债务展期事宜,部分债务已逾期且被起诉。
 
  此外,据最新的境外债务进展公告披露,在债权人的支持下,高等法院于2025年5月26日批准了碧桂园地产集团控股股东碧桂园控股的延期申请。据此,呈请聆讯现被延期至2025年8月11日。
责任编辑:王杰
大公原创,未经授权不得转载

相关内容

点击排行