大公网

大公报电子版
首页 > 科技 > 互联网 > 正文

米哈游胜诉拼多多不正当竞争案,终审判赔100万元

2025-08-01 21:27:21大公科技 作者:黄春蕊
字号
放大
标准
分享
  作为国内用户规模庞大的电商平台之一,拼多多在市场中占据着重要地位,然而就是这样一个体量巨大的平台,却因不正当竞争行为被判令停止侵权。
 
  2025年8月1日,米哈游法务部发文显示,近日,米哈游诉上海寻梦信息技术有限公司(拼多多主公司,以下简称“拼多多”)不正当竞争案迎来二审终审宣判:在维持一审虚假宣传认定的基础上,认定拼多多构成仿冒混淆的不正当竞争行为,判令其停止侵权,刊登声明消除影响,并赔偿经济损失及维权合理费用100万元。?


 
  在米哈游告知其不正当竞争行为后,拼多多仍侵权
 
  通过米哈游法务部官方发布的消息,米哈游诉上海寻梦信息技术有限公司(拼多多)不正当竞争案二审终审宣判。此前,拼多多在未获得米哈游授权的情况下发布《原神》游戏主题任务,招募短视频博主进行商业推广,要求其在视频中或评论区挂载“1元抢一万原石”链接,引导用户点击链接下载拼多多App。


 
  但进入活动界面后,玩家无法通过抽奖获得原石,仅能抽取拼多多App内的“娱乐补贴金”。经进一步查明,拼多多在视频平台发布了《原神》游戏主题任务,提供视频制作参考素材和固定话术,招募短视频博主进行商业推广,要求在视频中或评论区挂载“1元抢一万原石”活动链接,为拼多多App拉新引流。
 
  米哈游方面认为,该行为还会导致玩家误以为米哈游与拼多多存在合作关系。这对其商誉造成了极大损害。
 
  米哈游提起诉讼后,一审法院认定拼多多的行为构成虚假宣传不正当竞争,判决其赔偿35万元,原、被告双方均提起上诉。2025年5月,浙江省高级人民法院做出二审终审判决,认定“原神”“原石”及相关《原神》游戏角色等标识结合的整体能够与《原神》游戏对应起来,该些标识属于“有一定影响的”标识,拼多多对“原神”“原石”等标识的整体使用行为主观上具有攀附故意,客观上易导致公众误认为其与米哈游具有特定关联关系,构成仿冒混淆行为。
 
  浙江省高级人民法院同时认定,“1元抢一万原石”活动构成虚假宣传,拼多多对于不能提供“原石”这一游戏货币没有异议,其商品链接中“1元抢一万原石”的宣传与真实情况相违背。其宣传行为利用了米哈游相关游戏元素的知名度,以获取玩家对拼多多的关注度,一定程度误导了消费者,并对米哈游造成流量损失。而且,在米哈游发送律师函告知存在不正当竞争行为后,拼多多相关侵权行为仍在持续,并获得了因其App下载量或链接点击量增加而带来的利益,故应增加赔偿数额。
 
  针对上述不正当竞争行为,浙江省高级人民法院最终判令拼多多立即停止侵权行为,在《中国知识产权报》公开刊登声明消除影响,并赔偿米哈游经济损失及维权合理费用100万元。


 
  北大纵横核心技术内控研究院院长郭矫表示,在不正当竞争纠纷案件中,判赔金额通常不会过高,法院一般会判处常规数额的赔偿,并要求侵权方承担消除不良影响、赔礼道歉等民事责任。但本案的判赔金额却显著偏高,核心原因在于被告的侵权行为存在明显的主观故意:在权利人已发函明确警告其停止侵权后,被告仍持续实施侵权行为,属于典型的“明知故犯”,主观恶意十分突出。因此,二审法院在二审中将一审的判赔额从35万元大幅提升至100万元。
 
  对于此次事件,大公科技就内容审核是否存在疏漏、是否会建立长效的监测机制等问题向拼多多相关人士发出采访函,但截至发稿前未得到回复。
 
  在知名危机公关专家、福州公孙策公关合伙人詹军豪看来,此次败诉,拼多多不仅需承担100万元经济赔偿,还得刊登声明消除影响,这会损害其在消费者心中的诚信形象,降低品牌信任度,尤其在注重口碑的电商领域,负面舆论会削弱用户忠诚度,影响平台流量和销售额。同时,也为拼多多及其他电商平台敲响警钟,警示它们规范运营,避免类似侵权行为,否则将面临法律严惩。
 
  詹军豪建议,企业应建立24小时舆情监测系统,利用专业工具实时追踪全网与自身相关的舆论动态。一旦发现舆情,迅速组建由公关、法务、技术等多部门构成的应对小组。及时发布准确、诚恳的声明,向公众说明情况,避免谣言滋生。如拼多多在案件中,就应第一时间承认错误,表达整改决心。同时,积极与媒体、意见领袖沟通,借助他们的影响力引导舆论走向,传递正面信息。
 
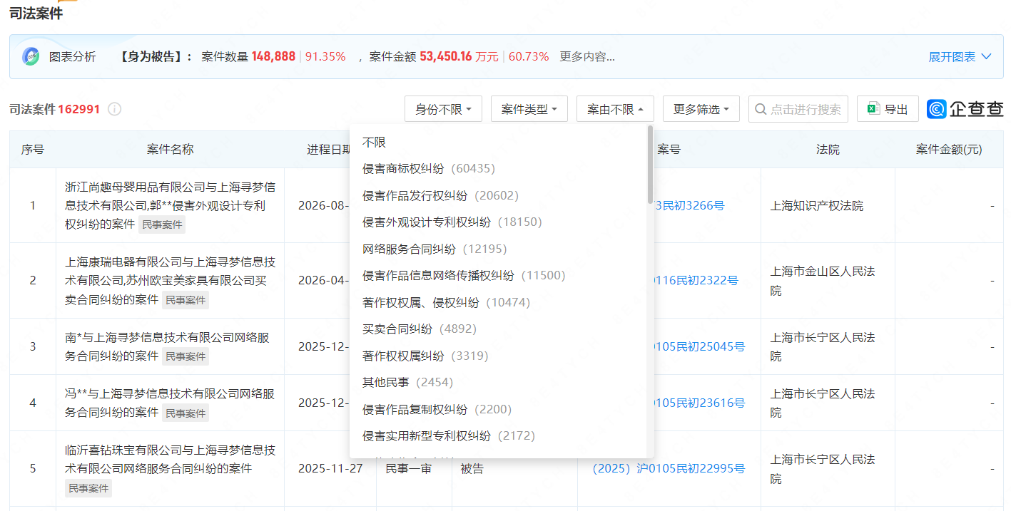
  企查查数据:截至2025年8月1日,拼多多涉及超16万件司法案件
 
  事实上,米哈游诉拼多多不正当竞争案并非个例。长期以来,拼多多在商业运营中多次因商品质量、宣传合规及用户权益等问题引发争议。
 
  早在2018年登录美股纳斯达克之际,关于拼多多涉嫌售假的消息引发公众关注。据央视新闻等报道,2018年7月28日,有媒体刊文报道拼多多平台上出现的小米视界、三星视听、VDVD手机、创维云视听、雅利阿道夫等多款涉嫌侵犯相关品牌权益的产品,涉及手机、电视、日化等多个品类。当天下午,深圳创维-RGB电子有限公司发布严正声明称,已经关注到“拼多多”平台上销售大量假冒创维品牌的电视产品,严重侵害了消费者和创维品牌的权益。创维目前正与拼多多方面严正交涉,要求其停止售假行为。
 
  上述央视新闻报道还提到,2018年7月29日,童话作家郑渊洁通过微博表示,拼多多平台上有卖家销售盗版皮皮鲁图书,涉嫌侵犯其著作权。“经律师证据保全向拼多多取证购买,收到的图书确为盗版书,封底的防伪标识竟然是印上去的。”郑渊洁要求拼多多立即停止销售相关盗版图书并处罚关闭销售盗版书的卖家。
 
  企查查数据显示,截至2025年8月1日,拼多多涉及超16万件司法案件,其中身为被告的案件数量高达14.89万件左右,占比91.35%,案件金额约5.35亿元。不仅如此,16万多件司法案件类型包含6万多起侵害商标纠纷、2万多起侵害作品发行权纠纷、1万多起侵害作品信息网络传播权纠纷等。


 
  詹军豪向大公科技表示,电商平台应在合作前与知识产权方进行深度沟通,签订详细的合作协议,明确双方权利义务、授权范围、推广方式等内容,避免模糊地带。设立专门的知识产权审核团队,对平台上的推广内容进行严格审核,确保不出现侵权行为。定期与知识产权方开展交流会议,分享推广数据与市场反馈,及时调整合作策略,维护良好合作关系,从而维护平台整体品牌形象。
 
  目前,拼多多及旗下平台因各类合规问题引发的关注仍在持续,相关争议事件也折射出平台在商业运营与规范管理中面临的挑战。后续,拼多多如何完善自身监管机制、回应市场关切,大公科技将持续关注。
责任编辑:王杰
大公原创,未经授权不得转载

相关内容

点击排行