大公网

大公报电子版
首页 > 科技 > 互联网 > 正文

尊湃14名员工因窃取华为芯片技术获刑,小米产投曾参与Pre-A轮融资

2025-08-04 17:56:18大公科技 作者:黄春蕊
字号
放大
标准
分享
  大公科技讯  近日,上海市第三中级人民法院对尊湃侵犯华为商业秘密案件作出一审判决,前海思员工共14人被判处有期徒刑(其中5人实刑),总计罚金1350万元。
 
  其中,尊湃创始人张某因非法获取华为Wi-Fi6芯片技术构成侵犯商业秘密罪,被判处有期徒刑6年,并处罚金300万元,同时被禁止从事芯片行业5年。其余13名涉案员工分别被判处2至5年不等刑期,并处罚金20万至150万不等。
 
  上述案件要追溯到2023年年底。据上海市公安局经济犯罪侦查总队官微于2023年12月21日发布的消息显示,近期,在公安部的指挥部署下,在江苏警方的大力配合下,上海警方成功侦破一起侵犯芯片技术商业秘密案,抓获犯罪嫌疑人14名,查扣存储侵权芯片技术的服务器7台。
 
  经查,2021年2月,权利公司原高管张某、刘某等人为牟取非法利益,在离职后设立某科技公司,以支付高薪、股权利诱等方式,诱导多名原权利公司研发人员跳槽至其公司,并指使这些人员在离职前通过摘抄、截屏等方式非法获取权利公司芯片技术信息,抄袭并运用于张某公司设计的同类型芯片上,企图以此非法牟利。经鉴定,侵权芯片技术有40个技术点与权利公司商业秘密的密点具有90%以上同一性,构成实质性相同。2023年4月19日,上海警方在江苏警方的大力配合下,在沪苏两地开展集中收网行动,成功抓获包括张某、刘某等人在内的14名涉案公司核心成员,在侵权芯片投入量产前及时予以查处。
 
  中国企业资本联盟副理事长柏文喜从三方面分析。他表示,从技术研发方面,一是人才信任赤字:企业被迫提高竞业限制补偿金(海思已将补偿金从50%年薪提高到100%),导致全行业人力成本抬升8–12%。二是知识共享倒退:为防止“组团”泄密,头部公司倾向把原本对内开放的IPWiki关进“铁笼”,跨项目技术交流减少,重复造轮子风险上升。
 
  市场竞争方面,一是劣币驱逐良币:侵权方用偷来的技术快速流片、低价抢单,使得守法企业研发投入回收周期延长20–30%。二是诉讼战升级:小米、OPPO等下游厂商开始把“知识产权清洁度”写进供应商准入条款,间接抬高中小芯片公司融资难度。
 
  行业秩序方面,一是刑事判决示范:主犯6年实刑+5年行业禁入,首次把“侵犯芯片商业秘密”量刑拉到与制售假币同档,对跳槽“复制粘贴”形成实质震慑。二是投资逻辑重塑:VC机构开始把“核心技术人员近3年竞业诉讼记录”纳入尽调红线,尊湃事件后至少5起融资被叫停。
 
  通过公开资料了解到,上述公司全称为尊湃通讯科技(南京)有限公司(以下简称“尊湃通讯”),其创始人张琨,原为华为海思员工。2019年离开华为后,2021年3月创立尊湃通讯,并集结了多名华为旧部,声称要打造“国产Wi-Fi 6/7芯片”。
 
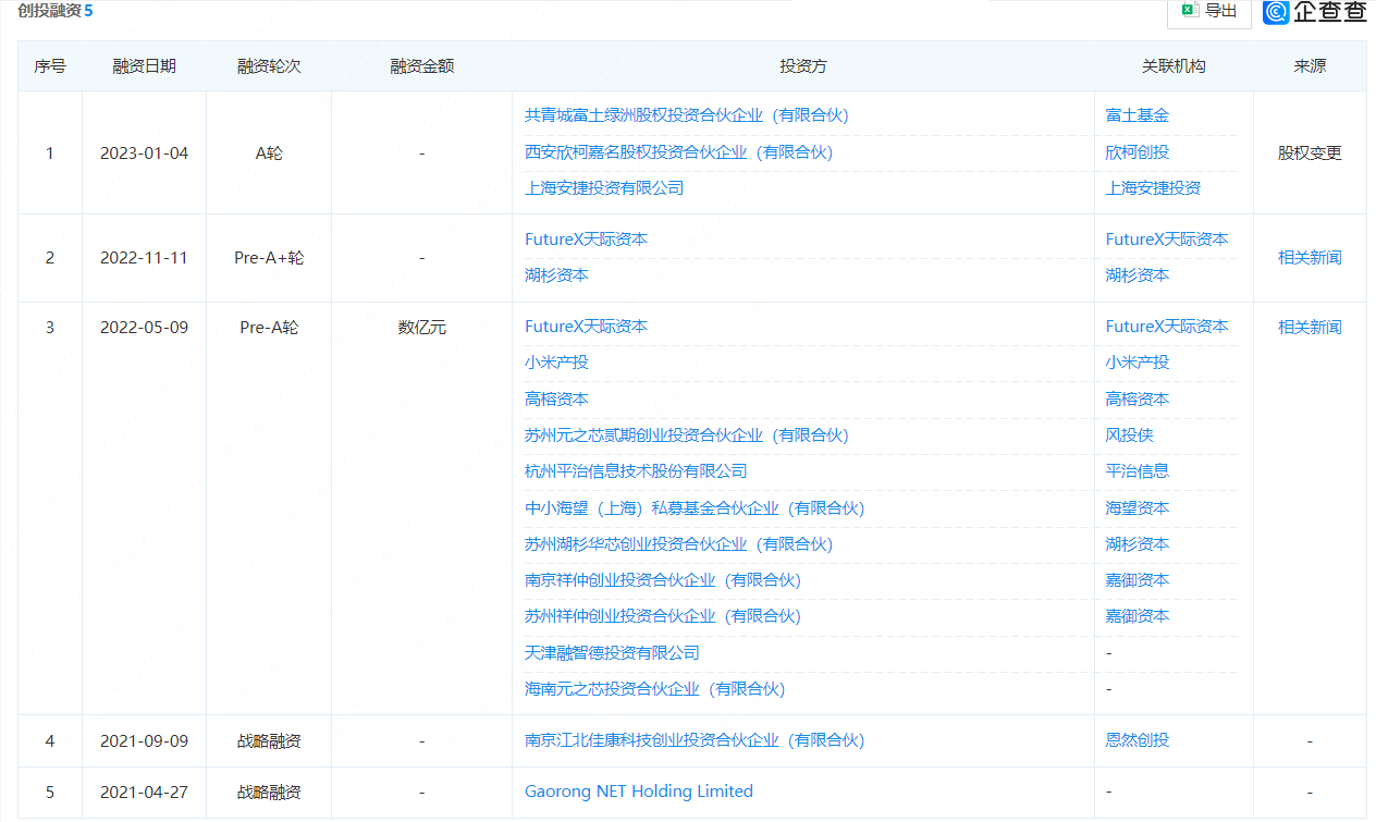
  值得一提的是,虽然尊湃通讯成立时间仅有四年多,但其投融资记录共有5轮。据企查查信息,在尊湃通讯成立后不久的4月27日,该公司完成战略融资,投资方为Gaorong NET Holding Limited;同年9月9日,又拿到了恩然创投(南京江北佳康科技创业投资合伙企业(有限合伙))的战略融资。
 
  在随后的2022年5月9日,尊湃通讯完成Pre-A轮融资,融资金额高达数亿元,投资方包括FutureX天际资本、小米产投、高榕资本、风投侠、治信息、海望资本、湖杉资本、嘉御资本等。同年11月,又获得FutureX天际资本、湖杉资本的Pre-A+轮融资。2023年1月,又完成A轮融资,投资方为富土基金、欣柯创投、上海安捷投资。
  随着尊湃侵犯华为商业秘密案件的曝光与审理,小米的投资行为也处于舆论关注之下。据第一财经等媒体报道,2023年12月24日,小米集团官博发布澄清公告称,近日,有大量关于某芯片公司与小米相关的谣言和不实报道在网上流传。对于这些不负责任、完全失实的信息,我们已经完成取证并上报有关部门,并作严正澄清。
 
  小米在声明中表示,集团旗下投资公司瀚星创业投资有限公司,于2022年参与某芯片公司融资,此举为正常得不能再正常的财务投资行为。先后参与该芯片公司多轮融资的,共计有多支国家与地方政府产业发展基金,以及20多家财务投资机构。作为该公司的众多股东之一,小米既不是最早的投资者,也不是投资规模最大的投资者,更不是在数轮融资中起主导地位的投资者。同时,小米既不参与该芯片公司的直接管理和运营,更与该公司没有任何知识产权或技术合作。
 
  对于高科技企业尤其是芯片等核心技术领域的企业来说,在防范内部员工泄露或窃取商业秘密方面,柏文喜也给出了几点建议。制度建设方面:一是分级保密契约:在普通NDA之外,对“接触40个以上密点”的员工追加《关键IP受托责任书》,违约金与股权激励挂钩。二是离职“冷静期”:核心人员离职前30天强制休假、交接期间禁用个人存储设备,并引入第三方公证机构做代码比对。
 
  技术手段方面:一是数据水印与行为AI:在EDA工具、代码仓、邮件系统里植入隐形水印,结合AI的“异常访问模型”,对短时间内批量下载、截屏、拍照行为实时告警。二是终端零信任:开发环境全部上云,本地仅留加密瘦客户端;USB、蓝牙、打印功能默认白名单管理,外设插拔即触发审计。
 
  管理模式方面一是双人密钥+异地备份:核心网表、GDSII等文件采用双人解锁+多地分布式密钥托管,任何单点泄露无法还原完整数据。二是长期激励替代短期诱惑:把50%的RSU解锁期延长到4年,且与公司整体专利质量挂钩,降低被对手“高薪+股权”一次性挖走的概率。
责任编辑:王杰
大公原创,未经授权不得转载

点击排行