大公网

大公报电子版
首页 > 房产 > 地产 > 正文

首开股份子公司顺恒远泰拟募集资金不低于11.18亿元,对应持股比例49%

2023-11-03 20:50:40大公房产 作者:加林娜
字号
放大
标准
分享
  大公房产讯  据北京产权交易所信息,11月3日,北京顺恒远泰置业有限公司(以下简称“顺恒远泰置业”)增资项目正式挂牌,拟募集资金不低于11.18亿元,对应持股比例49%,信息披露起始于11月3日,截止至11月30日。
  公告明确,意向投资方须为中华人民共和国境内(不含港澳台地区)依法设立并有效存续的企业法人,且注册资本须不低于50亿元人民币(以营业执照为准),同时须提供不低于人民币11.18亿元的银行存款证明文件、应具有良好的财务状况和支付能力应符合国家有关法律法规及规范性文件规定的其他条件。

  根据出让信息,本次增资不接受联合投资体投资,保证金比例需占拟投资总额的10%。本次增资完成后,引入新进投资方持股比例49%;原股东持股比例51%。另外,顺恒远泰置业方面表示,此次拟募集资金拟不少于11.18亿元,用来增强项目后续开发能力。

  据了解,顺恒远泰置业成立于2023年8月8日,法定代表人为王辉,注册资本11.41亿元,经营范围包括房地产开发经营;物业管理;技术进出口等。目前,该公司由北京首都开发股份有限公司100%持股。

  值得注意的是,于2023年7月25日,顺恒远泰置业与北京市规划和自然资源委员会签署了《国有建设用地使用权出让合同》。信息显示,该地块编号为京土储挂(顺)[2023]036号地块,位于北京市顺义区顺义新城第1街区,东至规划路,南至顺沙路,西至西环路,北至规划路。用地性质为R2二类居住用地、A334托幼用地。总用地面积6.32万平方米的地块,建筑控制规模为10.77万平方米(不含地下面积),总投资预估将达到38.06亿元。

  根据出让合同,顺恒远泰置业取得该地块土地成交价为22.82亿元,溢价率约0.53%。截至2023年8月31日,已支付土地款11.41亿元。

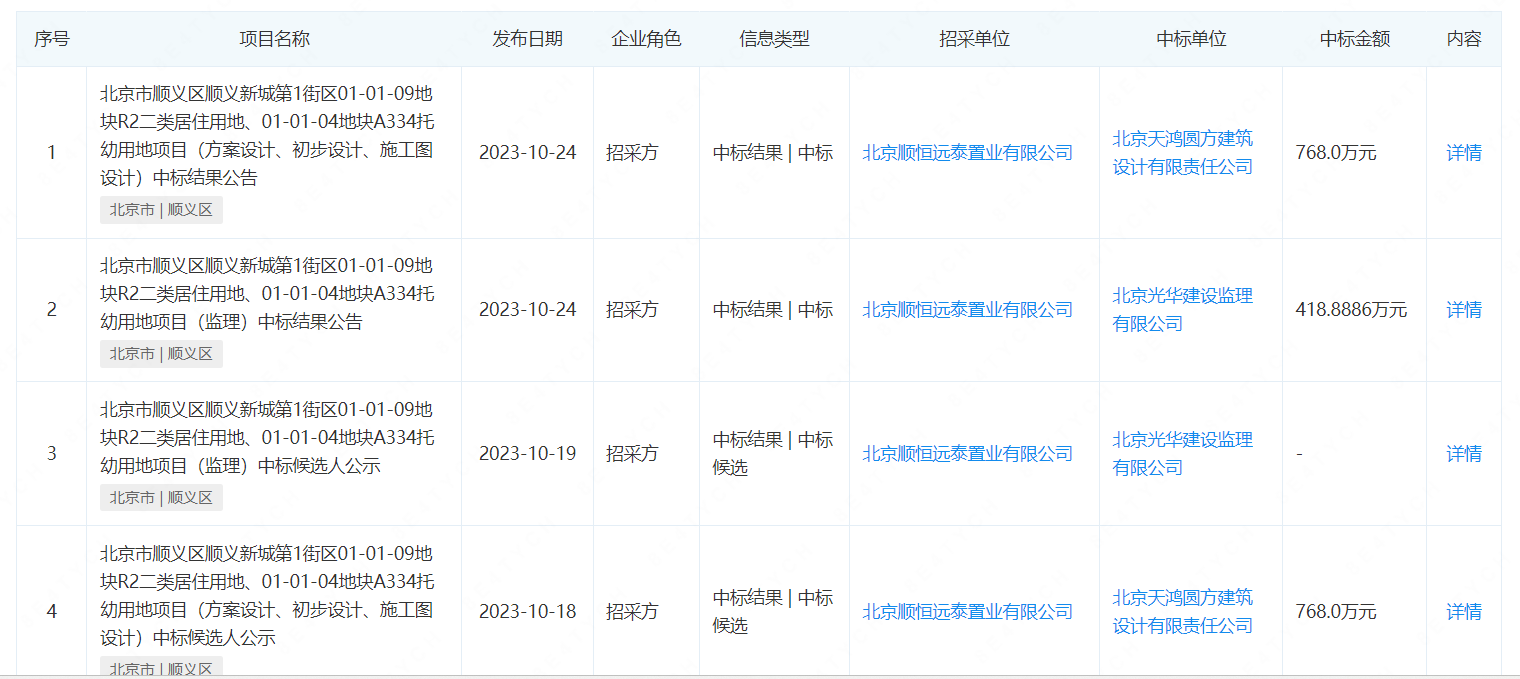
  此外,大公房产注意到,顺恒远泰置业于近期多次为该地块招标。企查查显示,8月9日,顺恒远泰置业首次披露招标计划,该公司计划投资12.45亿元,总见面15.58万平方米。于10月18日至10月24日期间,北京天鸿圆方建筑设计有限责任公司、北京光华建设监理有限公司中标。
责任编辑:王杰
大公原创,未经授权不得转载

相关内容

点击排行