大公网

大公报电子版
首页 > 房产 > 地产 > 正文

恒大地产新增15条被执行人信息,执行标的超2亿元

2025-04-10 21:47:38大公房产 作者:嘉琳娜
字号
放大
标准
分享
  大公房产讯  4月9日,中国执行信息公开网显示,恒大地产集团(深圳)有限公司(以下简称“恒大地产”)新增一条有关票据追索权纠纷的被执行案件,涉及临沂高新区勒维斯门窗经营部与临沂森狼商贸有限公司,大方县健绿亿绿化工程设计服务有限公司,恒大园林集团有限公司等,执行标的299.82万元,执行案号为(2025)粤0112执3428号,执行法院为广州市黄浦区人民法院。


 
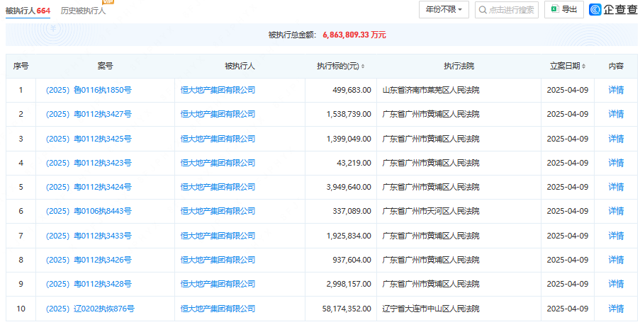
  除上述案件之外,企查查数据显示,恒大地产于4月9日新增14条被执行人信息。


 
  据企查查数据可知,恒大地产现存被执行人信息已超过660条,被执行总金额约686.38亿元。具体来看,上述案件主要涉及票据追索权纠纷、买卖合同纠纷、租赁合同纠纷和建设工程合同纠纷等。
 
  此外,恒大地产还面临2200余条限制高消费,360余条失信被执行人及1700余条终本案件信息。
 
  日前,恒大地产新增三条股权冻结信息,分别为(2024)鲁02执2229号、(2024)粤03执恢644号之二、(2024)粤03执1183号之十一。其中(2024)鲁02执2229号之三案件涉及股权数额约3.52亿元,冻结将于2025年5月9日开始,为期三年。


责任编辑:王杰
大公原创,未经授权不得转载

相关内容

点击排行