7月7日,鑫苑(中国)置业有限公司(以下简称“鑫苑置业”)宣称,对“21鑫苑01”债券展期。按此前发行时的安排,此债券采用单利按年计息,不计复利。每年付息一次,到期一次还本,最后一期利息随本金的兑付一起支付。

图片来源:企业公告
而日前鑫苑置业发布公告称,鉴于发行人经营现状,为推进本期债券还本付息工作,拟将本期债券的利息在不变更票面利率的前提下,将兑付安排调整为于2026年1月7日将全部应付利息一次性全额兑付,期间不再付息。
从每天分付利息,到一次性全额兑付,鑫苑置业又为自己的“还债”争取了3年时间。而正当鑫苑置业为债务问题周折奔波的时候,同为鑫苑系的鑫苑物业服务集团有限公司(以下简称“鑫苑服务”)也面临着困难:停牌近8个月至今仍未复盘。
6月21日,鑫苑服务发布最新消息称,该公司已接获联交所恢复买卖的指引。但联交所也表示,倘若公司的情况发生变化,其可能修改或补充复牌指引、额外复牌指引及进一步额外复牌指引。
据了解,鑫苑服务的停牌始于一则抵押事项,系其主动要求于联交所暂停买卖。据当时的公告披露,鑫苑服务的子公司存置于郑州银行、华夏银行共4.02亿元的定期存款已被质押,作为控股股东鑫苑地产旗下子公司以及若干并非鑫苑服务旗下公司的贷款融资抵押品。

图片来源:企业公告
受这笔来源不明的抵押贷款的影响,鑫苑服务决定暂停其在港交所的上市交易,并宣布进行核查。
值得关注的是,鑫苑服务强调现任董事会成员和高管对于这笔存款的质押都不知情,“抵押事项乃于现任董事会任何成员或本公司高级管理层不知情及未经同意下进行”,同时也明确表示公司“有关贷款很可能无法在所示到期日之前偿还。”
此前,鑫苑服务因关联交易不合规等问题就已经停牌核查了1年多,期间董事会也进行了大换血。2022年9月,鑫苑服务达成港交所的复牌指引所载规定成功复牌。但是,仅两个月后,鑫苑服务再一次陷入停牌的境遇。
相比之下,鑫苑置业日子也并不比鑫苑服务好过,销售额、净利润双双下滑的同时,还深陷债务违约泥潭,多次与债主对簿公堂。

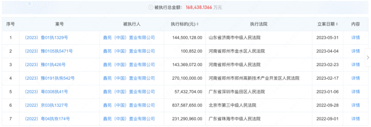
图片来源:企查查
自去年9月至今,鑫苑置业就曾七次被法院列为被执行人,被执行金额已经达到16.8亿元,此外还遭遇年报难产、项目烂尾、业主维权等难题。这让曾经风光一时的鑫苑创始人张勇也陷入进退两难的窘境。
被执行超4亿的“提款机”式子公司
2021年4月1日,鑫苑服务因未能如期刊发2020年全年业绩被迫停牌。
由于内部关联交易以及年报难产等问题的影响,鑫苑服务开始了长达17个月的停牌之旅。期间,鑫苑服务还曾被港交所下了最后通牒:如果其不能按照指引复牌,将在2022年9月30日以后取消其上市地位。
经过反复延宕,去年9月1日晚,鑫苑服务公告称,鉴于复牌指引已获达成,自9月2日起恢复股份买卖。复牌后,鑫苑服务开始内部大换血,对董事会进行了大刀阔斧的改组,在互联网江湖深耕多年的申元庆成为新的“掌门人”。
申元庆是一名互联网行业“老将”,曾担任微软Azure大中华区负责人、京东云总裁、世纪互联集团CEO等职务。他曾在谈及企业发展时表示,“当下,规模仍是物业企业综合实力的首要影响因素。但规模之外,数据驱动与科技赋能才是物业企业的核心优势与护城河所在。”
但有业内人士指出,再有野心和能力的领导层,也难使物业子公司逃脱大股东“提款机”的命运。
正如前文提到,鑫苑服务于郑州银行和华夏银行的共计4.02亿元定期存款已被质押,作为控股股东鑫苑地产子公司和若干非集团旗下公司的贷款融资的抵押品。而且,还是在现任董事会任何成员或公司高级管理层不知情及未经同意下进行的。
由于计划偿还贷款的存款被质押,鑫苑服务自身的相关贷款便无法偿还。自去年11月份以来,鑫苑服务已经连续四次被强制执行,被执行的总金额达到了4.02亿元。
这部分存款被抵押对于规模不大的鑫苑服务而言是一个大难题。

图片来源:企业中报
中报显示,2022年上半年,鑫苑服务实现营业收入3.56亿元,归属股东净利润0.65亿元;2021年全年,其营收收入为7.7亿元,归属股东净利润为1.23亿元。
而近期被执行的4.02亿元相当于鑫苑服务2022年上半年营收的113%,更是其净利润的619%;是其2021年全年营业收入的52%,净利润的328%。这也意味着,如果这4.02亿元无法归还的话,鑫苑服务需要贴补3年左右的净利润。

图片来源:企业中报
此外,据其中报数据,2022年上半年,在鑫苑服务营业收入的3.56亿元中,物业管理收入2.56亿元,占到绝对优势。而在这71.9%的物业收入中,来自鑫苑地产集团的收入占比达到71.1%。
过度依赖母公司是许多物业企业的难题,或许也是导致鑫苑服务陷入如此窘境的关键所在。鑫苑服务自爆式公告引来外界多方猜测的同时,也说明其转型发展之路依旧任重而道远。
一月内被执行超10亿,鑫苑置业深陷债务泥潭
鑫苑置业与鑫苑服务同属于鑫苑集团,是一家老牌房企,创始于1997年。发家于郑州的鑫苑置业凭借深耕本地的优势多年居于郑州楼市销售榜首。
经过十年的野蛮生长,鑫苑置业积累了雄厚的资本,并于2007年赴美上市,成为“中国房企赴美上市第一股”。同为河南起家的建业、正商,在当时也只能望到鑫苑置业快速发展的尾灯。
然而,美梦不长。在房地产企业高歌猛进的年代,鑫苑置业高层的频繁变动和踏错的转型节奏使其错失时代红利,逐渐掉队。2019年,鑫苑置业的合同销售额仅为146亿元,而同在河南发展起来的建业,在此时的合同销售金额已经达到1011.5亿元。
2021年以来,鑫苑置业的危机逐渐爆发。“鑫苑系”财务危机的消息从2021年下半年就开始不断传出,并从财务危机传导至项目危机,进而导致业主维权,企业风评急速下滑。

图片来源:企业2021年债券报告
鑫苑置业2021年发布的债券报告显示,截至报告期末,该公司合并报表范围内负债总额565.63亿元,其中有息负债总额110.83亿元,一年内到期有息负债43.2亿元,而其期末现金及现金等价物仅有27.4亿元,难以支撑其临期债务。

图片来源:企业2022年债券中报
债务压力传导到了2022年。鑫苑置业发布的2022年债券中期报告显示,截止报告期末,该公司合并报表范围内负债总计578.99亿元,其中有息负债总额100.68亿元,一年内到期有息负债35.42亿元,而公司期末现金及现金等价物为18.86亿元,仅达到即将到期负债总额的一半。
受债务违约影响,仅在2022年5月31日-7月1日,鑫苑置业及其子公司就曾三度被法院列为被执行人,被执行金额总计10.6亿元。此外,由于连续多次未按时提交财报,鑫苑置业还曾触发纽交所的退市预警。
2022年10月11日,鑫苑置业于新交所发行上市的两只优先票据“14%UNSUBNTS25/01/2024USD(REGS)”和“14.5%UNSUBNTS17/09/2023USD(REGS)”发生违约,违约规模合计2.67亿美元,折合人民币近20亿元。

图片来源:企业年报
与庞大债务压力相对的,是日趋下行的经营状况。数据显示,2017年-2022年鑫苑置业录得收入分别为19.77亿、22.18亿、24.83亿、17.46亿、15.36亿和9.5亿美元,其营业收入在2019年攀至高峰后又逐渐下降,直至2022年跌下10亿美元的门槛。
随着营业收入的下滑,鑫苑置业也走上持续亏损的道路。自2020年开始,鑫苑置业连续三年持续净利润亏损,分别亏损0.68亿美元、4.13亿美元和2.59亿美元。
值得一提的是,去年3月,王健林化身“白衣骑士”拉了鑫苑一把,在鑫苑置业董事长张勇带队前往万达集团之际,与之签约了合作协议。鑫苑置业将旗下多个商业项目交由万达管理,期望以此获得更好的效益,度过资金难关。
然而,从鑫苑置业和鑫苑服务目前所处的镜况来看,张勇想领带鑫苑走出困境似乎不是一个简单的事。
从高光到黯淡,鑫苑董事长张勇的这些年
2007年,孙宏斌还是一头黑发,充满了闯劲。这一年,二次创业失败后的孙宏斌卖掉了自己一手打造的顺驰集团,开启了融创的扩张之路。
也是在这一年,鑫苑置业成功在美上市,凭借“国内房企纽交所第一股”的称号,力压建业、正商,成为当时的“河南王”。鑫苑董事长张勇的身价也水涨船高,凭借鑫苑置业的上市迎来了自己人生中的高光时刻。
在美成功上市给了张勇更大的勇气。转过头来的2008年,鑫苑置业就将集团总部迁至北京,并宣布开始进军全国市场。然而此后几年,鑫苑置业虽然铺大了摊子,但始终没有做出亮眼的成绩。
2013年,张勇试图推进鑫苑置业进行“组织再造、战略重构”,并引入万达副总裁王信琦担任CEO,想要再造一个“小万达”。
之后鑫苑置业确立了高周转、高杠杆、高激励和轻资产“三高一轻”模式,开始迅速完善全国布局。然而,那些年鑫苑置业发展得似乎并不顺利,不仅规模没有做大,而且还出高管频繁变动的状况。
2016年,在鑫苑置业工作三年的王信琦退场,万达旧将张立洲接掌帅印,力图打开规模扩张通道。然而,又是三年,张立洲也黯然离职。两任万达老将的退出,宣告着鑫苑长达6年的“万达化”收官,张勇“再造一个万达”的雄心壮志也随之化为泡影。
接棒张立洲的鑫苑总裁李尚荣也于2020年6月离职,入职尚不满一年。之后,由贺海飞接任总裁,一直持续至今。
2014-2020年,鑫苑置业的销售额分别为82.3亿、135.6亿、190.7亿、233.1亿、295.1亿、221.9亿以及226.3亿元,仅在前些年有所增长,之后便停滞不前,甚至还出现下滑。
反观一直坚守河南大本营的建业和正商,凭借深耕当地的优势,依托当地市场赢得长足进步,在2019年的销售金额分别达到1011.5亿元和518.7亿元,将鑫苑置业远远甩在了身后。
2017年,张勇大手笔“承包”了纽约时代广场的广告大屏向全球华人拜年,一时风光无限。从1992年借钱组建建筑队当起了带队的包工头,到登上纽约时代广场的地产老板,再到如今落得在债务、经营的困境下艰难求生的境遇,张勇在地产江湖这些年的风风雨雨,也早已化作行业发展的时代印记。