大公网

大公报电子版
首页 > 快消 > 新消费 > 正文

乐乐茶大股东2386万股权被冻结

2022-07-29 14:27:23大公快消 作者:乔默
字号
放大
标准
分享
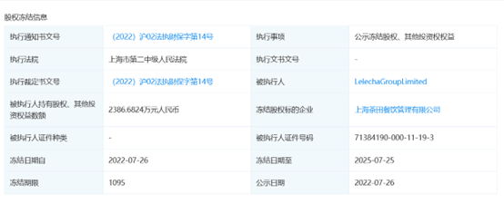
  大公快消讯  7月29日,企查查APP显示,乐乐茶关联公司上海茶田餐饮管理有限公司新增股权冻结信息,被执行人为大股东LelechaGroupLimited(香港私人股份公司),冻结权益数额约2386.7万元人民币,冻结期限从2022年7月26日到2025年7月25日。
  企查查股东信息显示,该股东在上海茶田餐饮管理有限公司持股46.9%,认缴出资额为2386.7万元人民币。
 
  据悉,上海茶田餐饮管理有限公司成立于2016年,目前已进行过4次融资。企业业务为LELECHA乐乐茶(楽楽茶),乐乐茶是“茶饮+软包”的新式茶饮品牌,原创了乳酪鲜果茶、脏脏茶、脏脏包、苏丹王榴莲乳酪软包、星空流沙包等。公司官网宣称,其使用的均为茶源地的上乘原叶茶、农场直供的当季鲜果、进口乳酪和麦粉,产品均为现制现售、现烤现卖。
责任编辑:李琪
大公原创,未经授权不得转载

相关内容

点击排行