大公网

大公报电子版
首页 > 房产 > 地产 > 正文

继中国恒大曝光2.4万亿债务后,恒大地产被执行总金额增至427.46亿元

2023-07-27 19:16:07大公房产 作者:嘉琳娜
字号
放大
标准
分享
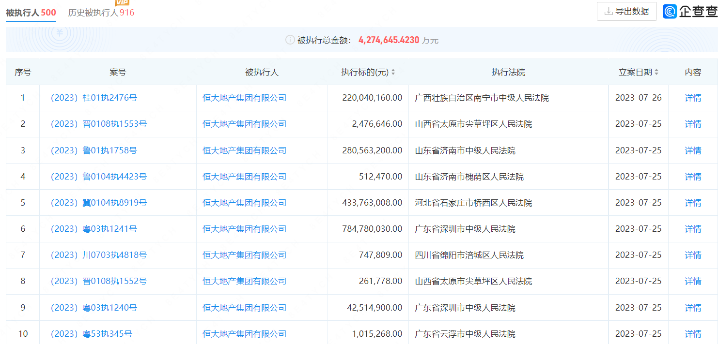
  大公房产讯  前不久,中国恒大终于发布了延迟许久的三份财报。但就在近日,中国恒大旗下恒大地产新增多余条被执行人信息。

  企查查显示,自7月18日开始,恒大地产新增42条被执行人记录,执行法院包括广东省佛山市南海区人民法院、开封城乡一体化示范区人民法院、广东省江门市中级人民法院、广东省湛江市中级人民法院等,其中仅7月25日、26日恒大地产就新增11条被执行人信息,执行标的合计29亿余元。
  截至7月27日,恒大地产共有500条被执行人记录,被执行总金额427.46亿元。同时,该公司还存在411条限制高消费记录,涉案总金额约131.19亿元,另外还有77条失信被执行人记录。

  通过前不久中国恒大发布的财报可知,截至2022年12月31日止年度,恒大年内经营性亏损433.9亿元,土地被收回有关的亏损、金融资产减值损失及其他非经营性亏损693.7亿元,所得税开支130.5亿元,净亏损合计1258.1亿元。

  于2022年末,中国恒大负债总额24374.1亿元,剔除合约负债7210.2亿元后为17163.9亿元,其中包含借款6123.9亿元、应付贸易账款及其他应付款项10022.6亿元(含应付工程材料款5961.6亿元)、其他负债1017.4亿元。
责任编辑:王杰
大公原创,未经授权不得转载

相关内容

点击排行