大公网

大公报电子版
首页 > 房产 > 地产 > 正文

融创房地产被执行人信息累计约380余条,被执行总金额高达436亿元

2025-04-14 11:11:44大公房产 作者:嘉琳娜
字号
放大
标准
分享
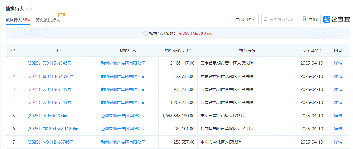
  大公房产讯  企查查数据显示,4月10日,融创房地产集团有限公司(以下简称“融创房地产”)新增7条被执行人信息,执行标的总额高达16.54亿余元,涉及票据追索权纠纷、申请诉前财产保全等案件。


 
  据悉,此次被执行的关联公司还包括环球融创会展文旅集团有限公司、广州万达文化旅游城投资有限公司、中国林业集团福建福人源木实业有限公司、天津兴航建材销售有限公司等,执行法院包括广州市花都区人民法院、重庆市第五中级人民法院以及云南省昆明市晋宁区人民法院等。
 
  企查查风险数据信息进一步提示,截至4月11日,融创房地产共有380余条被执行人案件记录,被执行总金额超过436亿元。此外,公司还面临460余条失信被执行人信息、1900余条限制高消费、1200余条终本案件的信息。
 
  截至2024年12月31日止年度之经审核业绩公告显示,融创房地产旗下的融创中国控股有限公司(以下简称“融创中国”)连同其合营公司以及联营公司(统称“集团”)的合同销售金额约471.4亿元,该集团的权益土地储备约8756.5万平方米,其中未售权益土地储备约6301万平方米。
 
  报告期内,该集团实现营业收入740.2亿元,同比减少52%,其中“物管+文旅”两大板块收入超120亿元,占比同比提升8.2个百分点;实现毛利约28.9亿元,同比增加约53.9亿元,毛利率从2023年的-1.6%提升至3.9%;公司拥有人应占亏损约为257亿元,较2023年的79.7亿元进一步扩大。


 
  于2024年12月31日,集团的流动负债净额约为535.2亿元,流动和非流动借贷分别约为1860.9亿元和735.8亿元,现金余额(包括现金及现金等价物及受限制现金)约为197.5亿元。此外,截至2024年12月31日,该集团到期未偿付借贷本金约为1058.0亿元,导致借贷总额本金约为645.7亿元可能被要求提前还款。截至2025年3月28日,集团到期未偿付借贷本金约为人民币1093.5亿元,并导致借贷总额本金约人民币564.4亿元可能被要求提前还款。
 
  值得一提的是,于2024年12月及2025年1月,融创中国的境内债务重组计划已经过相关债券持有人会议通过,相关公司债券、非公开发行境内公司债券及供应链资产支持专项计划的偿付安排已进行调整,展期期限5至9.5年,年票息率改为1%,境内债务重组计划提供包括债券购回(即现金要约收购)、股票及或股票经济收益权兑付及以资抵债等选项。
责任编辑:王杰
大公原创,未经授权不得转载

相关内容

点击排行